Логический модуль с дисплеем Siemens LOGO! 230RC

Модуль с дисплеем Siemens LOGO! 230RC 6ED1052-1FB00-0BA6:
- Питание: ~=115…240В;
- Дискретные входы: 8;
- Дискретные выходы: 4 (нормально разомкнутые реле);
- Особенности памяти: 200 блоков;
- Дополнительные возможности: расширение функционального потенциала модулями ввода/вывода.
Цена: от 4 452 руб.
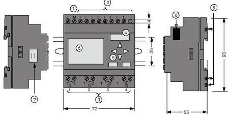
Общее описание

- 1 - источник питания
- 2 - входы
- 3 - выходы
- 4 - гнездо под модуль, оснащенный крышкой
- 5 - панель, посредством которой реализуются опции управления
- 6 - дисплей
- 7 - разъем для кабеля типа LOGO!TD
- 8 - интерфейс расширения
- 9 – опции механического кодирования - гнёзда
Особенности схемы подключения и максимальной конфигурации LOGO!230RC
Модуль с дисплеем поддерживает 24 цифровых входов, 8 аналоговых входов, а также 16 цифровых и 2 аналоговых выхода. Для достижения параметров, характерных для максимальной конфигурации, используют нижеприведенную методику:
- Максимальная конфигурация модулей данного класса LOGO! без аналоговых входов (LOGO! 24RC/RCo, а также LOGO! 230 RC/RCo)

Специфика монтажа модуля LOGO!230RC

Поэтапный монтаж на DIN-рейку:
1. На первом этапе осуществления монтажных работ следует навесить модуль на рейку;
2. Путем нажимания на нижнюю часть, срабатывает специальная защелка модуля, выполняется надежная его фиксация (защелка расположена на задней части прибора);
3. С правой стороны модуля находится крышка разъема, которую необходимо снять;
4. С правой стороны от LOGO!Basic помещается модуль на DIN-рейку;
5. Перемещаем модуль в левую сторону таким образом, чтобы последний контактировал с LOGO!Basic;
6. Посредством отвертки защелка отодвигается влево, после чего она должна занять крайнее левое положение.
Монтаж дополнительного оборудования выполняется путем поэтапного повторения всех пунктов, относящихся к монтажу цифрового модуля.
Поэтапный монтаж на стену:
Аккуратно переместите монтажные защелки наружу, как правило, они расположены на задней стенки устройства. Непосредственно монтаж модуля выполняется при помощи двух монтажных защелок и двух винтов ØM4 (момент затяжки 0,8-1,2Нм).
Технические характеристики LOGO!230RC:
| Блок питания: | |
|---|---|
| Входное напряжение | 115...240В постоянный/переменный ток |
| Допустимый диапазон | 85...265В перем.тока 100...253В пост.тока |
| Допустимая частота сети | 47...63Гц |
| Потребление тока • 115В перем. тока • 240В перем. тока • 115В пост. тока • 240В пост. тока |
10…40мА 10... 25мА 5...25мА 5...15мА |
| Буферизация исчезновения напряжения • 115В перем./пост.тока • 240В перем./пост.тока |
тип. 10мс тип. 20мс |
| Мощность потерь при • 115 В перем. тока • 240 В перем. тока • 115 В пост. тока • 240 В пост. тока |
1,1...4,6Вт 2,4...6,0Вт 0,5...2,9Вт 1,2...3,6Вт |
| Буферизация часов в условиях 25°C | тип. 80час. |
| Точность опции часов реального времени | тип. ±2 с/день |
| Цифровые входы: | |
| Количество | 8 |
| Потенциальная развязка | Нет |
| Входное напряжение L1 • Сигнал 0 • Сигнал 1 • Сигнал 0 • Сигнал 1 |
< 40В перем. ток > 79В перем. ток < 30В пост. ток > 79В пост. ток |
| Входной ток при • сигнале 0 • сигнале 1 |
< 0,03мА > 0,08мА |
| Время задержки при • переходе с 0 на 1 • переходе с 1 на 0 |
тип. 50мс тип. 50мс |
| Длина линии (неэкранированной) | 100м |
| Цифровые выходы: | |
| Количество | 4 |
| Тип выходов | Релейные выходы |
| Потенциальная развязка | да |
| Группами по | 1 |
| Управление цифровым входом | да |
| Длительный ток Ith | 10A на реле (max) |
| Нагрузка из ламп накаливания (25 000 циклов переключения) при: 230/240В перем. ток 115/120В перем. ток |
1000Вт 500Вт |
| Люминесцентные лампы с дросселем (25000 циклов переключения) | 10 x 58Вт (при 230/240В перем. ток) |
| Люминесцентные лампы с обычной компенсацией (25000 циклов переключения) |
1 x 58Вт (при 230/240В перем. ток) |
| Люминесцентные лампы, некомпенсированные (25000 циклов переключения) | 10 x 58 Вт (при 230/240В перем. ток) |
| Устойчивость к коротким замыканиям при cos = 1 | Защита по питанию B16 600A |
| Устойчивость к коротким замыканиям при cos от 0,5 до 0,7 | Защита по питанию B16 900A |
| Понижение номинала | нет; во всем диапазоне температур |
| Параллельное включение выходов для увеличения мощности | Не допускается |
| Защита выходного реле (если желательна) | макс. 16A, характеристика B16 |
| Частота включений: | |
| механическая | 10Гц |
| омическая/ламповая нагрузка | 2Гц |
| индуктивная нагрузка | 0,5Гц |